Revolutionizing Industry with Industrial Test Equipment Co
Gentleman, my experience with Industrial Test Equipment Co has been totally life-changing. From the initial time I saw that excellent equipment they’ve got, I realized I expected something that was going to astonish me.
Let’s dive into how testing gear has evolved, yeah?
Now, onto how this gear boosts our productivity and quality control.
Now, let’s talk about keeping things safe and compliant.
Now, let’s talk about the training and support they offer.
Lastly, their dedication to innovation and sustainability.

Let’s dive into how testing gear has evolved, yeah?
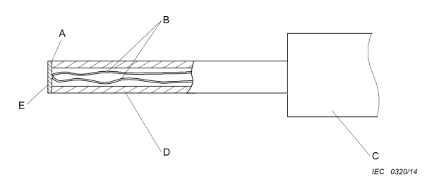
When I first began my career, industrial test equipment was a drastic difference from what it is today. All thanks to technology advancements, we’ve got some seriously accurate, effective, and user-friendly equipment now.
Back in the day, we had to manually calibrate each device. It was super time-intensive and susceptible to errors. Thanks to Industrial Test Equipment Co, we can now automate most of that, which really saves us a lot of time and resources. According to some stats, the market of testing equipment is projected to increase by a robust 4. 5% between 2020 and 2025.

Now, onto how this gear boosts our productivity and quality control.
These Industrial Test Equipment Co products are a major success because they significantly increase our productivity and quality. I’ve seen how this gear has assisted our team optimize processes, cutting down our time to delivery and substantially enhancing our product excellence.
In this fast-moving world, that’s a major issue. An international standard organization report says that companies that use advanced test gear can see a 30% productivity increase.

Now, let’s talk about keeping things safe and compliant.
Safety and compliance are a significant matter in our industry, and Industrial Test Equipment Co has been a big help in fulfilling these requirements. The equipment they offer is designed to keep our products are safe and compliant with all the regulations.
Having that reassurance is huge, especially when handling complex and potentially hazardous materials. As reported by OSHA, using good test gear can reduce the number of accidents big-time.

Now, let’s talk about the training and support they offer.
One thing that really stands out about Industrial Test Equipment Co is their training and assistance. I’ve been lucky enough to go to their seminars. Gained a lot of knowledge about how to operate their equipment and resolve typical problems.
That support is extremely important for optimizing our investment. A NCCER study showed that employees who receive adequate training have a 20% higher probability to be satisfied with their role.

Lastly, their dedication to innovation and sustainability.
Lastly, I greatly appreciate Industrial Test Equipment Co’s focus on innovation and environmental responsibility. They are continuously developing innovative new products that also assist for testing and also minimize our negative effect on the environment.
This aligns well with my core beliefs and with our corporate values. The World Economic Forum indicates companies committed to sustainability often achieve growth and prosperity in the long term.




